全自動饅頭機
效率:65個/min
饅頭類型:圓形饅頭
外形尺寸:1380*450*970(mm)
? ? 
| 外形尺寸 | 1380*450*970(mm) | 效 率 | 65個/min |
| 制造材料 | 優質不銹鋼 | 生產產品類型 | 圓形饅頭 |
該饅頭機主要應用于酒店、院校食堂、企事業單位、中央廚房、面食加工店等。


饅頭機整機采用優質不銹鋼板制造
耐磨耐用,結構緊湊合理,性能可靠,清洗方便,符合食品衛生要求。

工藝先進 節能高效
關鍵部件采用減速箱轉動,潤滑充分,對棍式揉搓雙螺桿擠出結構。

優質材料 耐磨耐用
圓鋼采用45#優質碳結構,鑄件選用HT200,關鍵零件采用球磨鑄鐵,電機采用通過3C認證的知名銅芯電機。

饅頭機易拆卸 性能平穩可靠
工作機構的齒輪緊挨墻板一側,易于拆卸,安全可靠。輸面部件采用組合設計,方便清洗各部件的零部件采用專用不銹鋼制造。

仿手工圓形饅頭的成型加工制作
該饅頭機能將和好的面團通過推、擠壓、切割、滾圓的辦法支撐圓形饅頭,即按國際標準生產、高效、節能、耐用。
![]()
YS系列饅頭機是我廠科技領先的新產品,它能將和好的面團通過推、積壓、切割、滾圓的辦法制成圓球狀饅頭。 饅頭機整機采用優質不銹鋼板材,電機選用3C認證的知名銅芯電機,安全、耐用、節能、噪音低。關鍵部件采用減速箱傳動,潤滑充分,對滾式揉搓雙螺桿擠出結構。工作機構的齒輪集中在墻板一側,易于拆卸,安全可靠。輸面部件采用組合設計,方便清理各部位的殘渣。與面接觸的零部件采用專用不銹鋼制造。它能將和好的面團通過推、擠壓、切割、滾圓的辦法制成圓球狀饅頭,即按國際標準生產,高效、節能、耐用。結構緊湊合理,性能可靠,清洗方便,符合食品衛生要求。
使 用 操 作 說 明 | 試機前,首先用手轉動大皮帶輪數轉,觀察手感各運轉部位是否靈活,若正常后按機器標示轉向通電空載試機10分鐘,看有無異常聲響,一切正常后,打開右側門給傳動齒輪加少量潤滑油HL-20機油。 |
| 將發酵好的發面,加入面粉及適量的堿和水,經和面機攪拌均勻后,便可供饅頭機揉制饅頭坯用。一般情況下,面粉與水的比例按1:0.4為宜,若面粉質量高(富強粉),則水的比例可適當降低。 | |
| 和好的面,醒一醒為好,使其發大到適當的體積,以保證制成的饅頭大則豐滿,醒面時間可根據實際條件確定(20-30分鐘),溫度掌握在38左右為宜。 | |
| 開前左門,將調節手柄右旋到最大位置,給進面斗擦適量的食油,給布面斗放入適量的干面粉,以便使干面粉徐徐地灑落在成形輥到刀口表面上,將多余的干面粉,擱在布面斗二層臺平面上,干面粉過量也將影響饅頭形成。注意:不要用受潮的面粉,以防面團與刀口及成形輥圓弧粘結,影響饅頭成形。 | |
| 開機后將切好的面塊連續均勻投入面斗內,面塊大小1500克-2000克為宜。工作期間面斗內的面團應始終保持在撥面葉中心以上,以保證送面螺旋能連續均勻的向成形輥部分供面和確保饅頭的質量及大小均勻。 | |
| 制好的饅頭坯,應首先檢查質量,如不合要求,可通過調節手柄進行調節,右旋調小,左旋調大,一般由大往小逐步調節。 | |
| 檢查饅頭坯表面質量,若兩端出現“小尾”再進行調整。調整的方法是打開外殼右側門,松開裝在右墻板上的介齒輪銷緊螺母,取下介齒輪,手指摸上下成形輥滾陽牙對準確,讓兩個刀尖與出面口中心重合位,依陽牙對位為主,刀尖對位為副,將下成形輥順時針或逆時針轉動1-3齒,再裝上介齒輪,反復實驗,調整直至“小尾”消除。一定要擰緊齒輪螺母,否則上下成形輥會產生相對運動達不到消除“小尾”缺陷的目的。 |
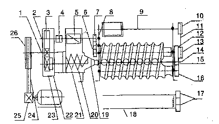
饅頭機結構及工作原理

| 1 | 2 | 3 | 4 | 5 | 6 | 7 | 8 | 9 | 10 |
| 齒輪軸 | 壓面軸 | Z54齒輪 | 聯接套 | 壓面板 | 輥子前齒輪 | 大傳動軸齒輪 | >前介輪 | 前刷總程 | 大鏈輪 |
| 11 | 12 | 13 | 14 | 15 | 16 | 17 | 18 | 19 | 20 |
| 鏈條 | 輥子后齒輪 | 小鏈輪 | 介輪軸 | 后介輪 | 輥子后齒輪 | 光軸小齒輪 | 光軸小齒輪 | 機頭總程 | 副絞龍 |
| 21 | 22 | 23 | 24 | 25 | 26 |
| 主絞龍 | Z41齒輪 | Z60齒輪 | A1400三角帶 | φ65皮帶輪 | φ280皮帶輪 |
維 護 保 養 | 配置與標牌相應的三相閘刀開關和保險絲座的配電箱。接線時要注意電機運轉方向與機器所示箭頭方向一致 |
| 使用完畢,應對喂料口內的殘存面團及成型輥表面進行清理。用隨機附帶的扳手,逆時針旋轉卸下出面錐,將口模內及送面螺桿清理干凈,以防干結、堵塞,影響再次使用。清理完后依次裝入原位,出面錐不宜旋得過緊,到位即可 | |
| 每次使用前均應給傳動齒輪加注少量機油。變速箱內每半年換油一次。打開上蓋,箱體左側有放油堵六角螺栓。用少量煤油清洗后,裝上放油堵,加入20#機油0.5kg,用探油針檢查油位深20mm,不宜超量,每月用探油針檢查一次,機油不足,應及時補充。對各軸承部位地清洗應結合機器檢修同時進行,拆下的軸承要用煤油清洗,然后涂上鈣基潤滑脂方可安裝 | |
| 饅頭機在運轉中絕不允許將扳手、菜刀等物放在機器上,防止掉入機器內造成事故 | |
| 清理喂料口時必須切斷電源 |
| 注 意 事 項 | 機器運轉中嚴禁手伸進進料口內 |
| 每天使用后,應把進料口內的殘留面渣清洗干凈,蓋好并鎖緊進料口蓋 | |
| 機饅頭機使用一段時間后,皮帶可能出現松弛,可松開電機地腳螺栓,予以調整 |

![]()
陜西大明普威環境科技有限責任公司
聯系電話:18091703447
聯系QQ:3410374
聯系郵箱:dmyxzx@126.com
公司地址:陜西省西安市蓮湖區大慶路3號
| * 聯系人: | 請填寫您的真實姓名 |
| * 手機號碼: | 請填寫您的聯系電話 |
| 電子郵件: | |
| * 采購意向描述: | |
| 請填寫采購的產品數量和產品描述,方便我們進行統一備貨。 | |
| 驗證碼: |
|
相關資訊
| 我要評論: | |
| 內 容: |
(內容最多500個漢字,1000個字符) |
| 驗證碼: | 看不清?! |








大明廚具官方微信
大明廚具官方微博
共有-條評論【我要評論】